首页» 旧版栏目» 服务指南

外汇汇款指南

发布日期:2013-11-08 
 
说明:
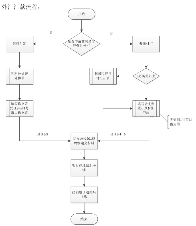
    1.非贸易非经营性购汇是教育部对其部属高校及直属事业单位的购汇优惠政策,于每年年底进行申请,如果各位老师在科研项目中有付汇需求,务请于每年年底关注财务网站,按要求进行申请;申请成功的老师在下年度付汇时请遵照限额付汇流程进行;
    2.填写借支票凭证要求:1)注明经费卡卡号;2)电话号码要求填写座机号和手机号;3)用途:汇**大学外汇;4)金额请按估算汇率填写在限额栏,并在后面标注外币汇款金额;5)有项目负责人及财务负责人签字;
    3.限额付汇所需材料:1)科研经费外协单;2)支票;3)国外合作方开具的形式发票复印件;4)收款人信息电子版,列明收款人开户行、收款人开户行地址、收款人名称、收款人账号、收款人地址、SWIFT码;
    4.五万美元以下普通付汇所需材料:1)付汇申请,说明汇款用途,金额等,并由主管院长及财务处处长签字,加盖学院公章;2)合同原件及复印件,若外文合同还需要翻译件。复印件及翻译件须加盖骑缝校章;3)借支票凭证,填写要求同说明2”4)收款人信息电子版,列明收款人开户行、收款人开户行地址、收款人名称、收款人账号、收款人地址、SWIFT码;
    5.五万美元以上普通付汇除需按五万以下普通付汇要求递交所需材料外,还应提供由国税局开具的付汇证明;
    6.国税付汇证明所需材料:1填写《境内机构和个人发包工程作业或劳务项目报告表》《服务贸易等项目对外支付出具《税务证明》申请表》,表格打印版并按表格要求加盖公章,将电子版拷入U盘,电子版不能改变格式;2)合同原件及复印件,若外文合同还需要翻译件。复印件及翻译件须加盖骑缝校章;3)对方单位开具的形式发票,加盖校章;4)汇款说明,说明汇款用途,汇款金额,分几次汇款等必要信息,并由负责人签字,加盖院章。材料齐全后请到国税进大厅西南角找刘爽办理,电话:80113721。(注:付税证明开具时间期限为合同签订日期起一个月内,由于超期导致无法付款的,请后果自负。)
  
外汇业务联系人:魏畅        电话:89731991
 
 
  • 附件1:$doc.srcFile